Celular 4G
Si sujeta esta unidad de interfaz y una tarjeta SIM, este producto se puede conectar a la red 4G.
-
Use la unidad de interfaz y la tarjeta SIM que coincidan con la frecuencia en su país.
-
Utilice este producto de conformidad con las leyes, los reglamentos y las normas de su país.
-
Este producto/accesorio no ha obtenido normas o certificaciones relacionadas con la radiofrecuencia. Obténgalas si son exigidas por las normas y certificaciones de su país.
-
Interfaz de Celular 4G
-
Antena
-
Tarjeta PCIe mini 4G
Especificaciones
|
|
Modelo para la UE, Asia y Japón |
Modelo para EE.UU. |
|---|---|---|
|
Número del producto |
PFXYP6MP4GE |
PFXYP6MP4GU |
|
Tipo de tarjeta SIM |
micro SIM 3FF, 12 x 15 mm |
|
4G
|
|
Modelo para la UE, Asia y Japón |
Modelo para EE.UU. |
|---|---|---|
|
Consumo de energía |
2,9 W |
|
|
Norma |
4G LTE: 3GPP Versión 9, E-UTRA, FDD, MIMO |
|
|
Banda |
MPCI-L2104: Banda 20 (800 MHz), Banda 5 (850 MHz), Banda 8 (900 MHz), Banda 3 (1.800 MHz), Banda 1 (2.100 MHz), Banda 7 (2.600 MHz) |
MPCI-L200: Banda 17 (700 MHz), Banda 5 (850 MHz), Banda 4 (1.700 MHz), Banda 2 (1.900 MHz), Banda 7 (2.600 MHz) |
|
Velocidad de enlace*1 |
Hasta 150 Mb/s DL, 50 Mb/s UL |
|
*1 Estos valores dependen de su proveedor del servicio, la distancia entre este producto y la estación de base, y el tráfico actual.
3G
|
|
Modelo para la UE, Asia y Japón |
Modelo para EE.UU. |
|---|---|---|
|
Consumo de energía |
2,6 W |
|
|
Norma |
3G UMTS/HSDPA/HSUPA: 3GPP Versión 8, DC-HSPA+, UTRA, FDD |
|
|
Banda |
MPCI-L210: Banda 5 (850 MHz), Banda 8 (900 MHz), Banda 2 (1.900 MHz), Banda 1 (2.100 MHz) |
MPCI-L200: Banda 5 (850 MHz), Banda 8 (900 MHz), Banda 4 (AWS, p. ej. 1.700 MHz), Banda 2 (1.900 MHz), Banda 1 (2.100 MHz) |
|
Velocidad de enlace*1 |
HSDPA cat.24, hasta 42 Mb/s DL, HSUPA cat.6, hasta 5,6 Mb/s UL |
HSDPA cat.14, hasta 21 Mb/s DL, HSUPA cat.6, hasta 5,6 Mb/s UL |
*1 Estos valores dependen de su proveedor del servicio, la distancia entre este producto y la estación de base, y el tráfico actual.
Conexión de las tarjetas PCIe mini de 4G y SIM
ATENCIÓN
|
|---|
|
PÉRDIDA DE COMUNICACIÓN
No sobrecargue los puertos de comunicación de las
conexiones.
Si no se siguen estas instrucciones, pueden producirse lesiones o daños en el equipo.
|
- Quite dos tornillos del área de instalación de la tarjeta PCIe mini de 4G en la interfaz de celular 4G.
- Introduzca la tarjeta PCIe mini de 4G en la ranura.
- Empuje la tarjeta PCIe 4 desde arriba y sujétela con los tornillos que se quitaron en el paso 1.
- Enchufe el conector del cable de la antena en el conector de la tarjeta PCIe mini de 4G, tal y como se muestra a continuación. Mirando desde la parte de arriba de la interfaz, enchufe el conector del cable en el lado izquierdo al conector 1 y el conector del cable en el lado derecho al conector 2.
- Deslice la cubierta de la bandeja de la tarjeta SIM en
la dirección de la flecha para abrirla.NOTA: No utilice la bandeja de la tarjeta SIM en la parte posterior de la tarjeta PCIe mini 4G.
- Inserte la tarjeta SIM en la ranura.
- Cierre la cubierta y deslícela en la dirección
de la flecha para bloquearla.
NOTA: Cuando retire, inserte o sustituya la tarjeta SIM, el Celular 4G debe restablecerse en su configuración predeterminada de fábrica. En Configuración de Celular 4G, lleve a cabo el paso 1. - Conecte esta interfaz al producto. Conecte la antena solamente
después de colocar el producto en el panel.

No bloquee el área de la antena de con la mano, el cuerpo u otros objetos. Puede producir interferencias en las comunicaciones.
Puede cambiar la dirección de las antenas hacia arriba, abajo, izquierda y derecha.

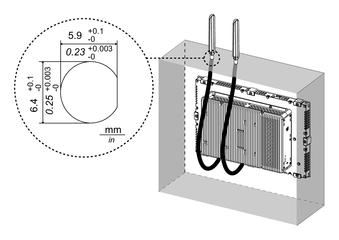
Puede conectar la antena en la parte exterior del panel usando el siguiente cable opcional.
Cable de antena extendido de Celular 4G (3 m): PFXYP6CB4G3M
Cuando se usa el cable opcional, las dimensiones de la abertura del panel son las siguientes.



ATENCIÓN





