4G cellulaire
En attachant cette unité d'interface et une carte SIM, ce produit peut connecter un réseau 4G.
-
Utilisez l'unité d'interface et la carte SIM qui correspondent à la fréquence de votre pays.
-
Utilisez ce produit selon les lois, les règlements et les normes de votre pays.
-
Ce produit ou cet accessoire n'a pas obtenu les normes ou les certifications relatives à la radiofréquence. Veuillez en obtenir si exigé par les normes et les certifications de votre pays.
-
Interface cellulaire 4G
-
Antenne
-
Carte mini PCIe 4G
Caractéristiques
|
|
Modèle UE, Asie et Japon |
Modèle É.-U. |
|---|---|---|
|
Référence du produit |
PFXYP6MP4GE |
PFXYP6MP4GU |
|
Type de carte SIM |
micro SIM 3FF, 12 x 15 mm |
|
4G
|
|
Modèle UE, Asie et Japon |
Modèle É.-U. |
|---|---|---|
|
Consommation d'énergie |
2,9 W |
|
|
Standard |
4G LTE : 3GPP Release 9, E-UTRA, FDD, MIMO |
|
|
Bande |
MPCI-L2104 : Bande 20 (800 MHz), Bande 5 (850 MHz), Bande 8 (900 MHz), Bande 3 (1 800 MHz), Bande 1 (2 100 MHz), Bande 7 (2 600 MHz) |
MPCI-L200 : Bande 17 (700 MHz), Bande 5 (850 MHz), Bande 4 (1 700 MHz), Bande 2 (1 900 MHz), Bande 7 (2 600 MHz) |
|
Vitesse de liaison*1 |
Jusqu'à 150 Mb/s DL, 50 Mb/s UL |
|
*1 Ces valeurs dépendent de votre fournisseur de services, de la distance entre ce produit et la station de base et du trafic actuel.
3G
|
|
Modèle UE, Asie et Japon |
Modèle É.-U. |
|---|---|---|
|
Consommation d'énergie |
2,6 W |
|
|
Standard |
3G UMTS/HSDPA/HSUPA : 3GPP Version 8, DC-HSPA+, UTRA, FDD |
|
|
Bande |
MPCI-L210 : Bande 5 (850 MHz), Bande 8 (900 MHz), Bande 2 (1 900 MHz), Bande 1 (2 100 MHz) |
MPCI-L200 : Bande 5 (850 MHz), Bande 8 (900 MHz), Bande 4 (AWS, p. ex., 1 700 MHz), Bande 2 (1 900 MHz), Bande 1 (2 100 MHz) |
|
Vitesse de liaison*1 |
HSDPA cat.24, jusqu'à 42 Mb/s DL, HSUPA cat.6, jusqu'à 5,6 Mb/s UL |
HSDPA cat.14, jusqu'à 21 Mb/s DL, HSUPA cat.6, jusqu'à 5,6 Mb/s UL |
*1 Ces valeurs dépendent de votre fournisseur de services, de la distance entre ce produit et la station de base et du trafic actuel.
Fixation de la carte mini PCIe 4G et de la carte SIM
ATTENTION
|
|---|
|
PERTE DE COMMUNICATION
N'exercez pas un stress trop important sur les ports
de communication de toutes les connexions.
Le non-respect de ces instructions peut provoquer des blessures ou des dommages matériels.
|
- Retirez deux vis de la zone d'installation de la carte mini PCIe 4G sur l'interface cellulaire 4G.
- Connectez la carte mini PCIe 4G à l'emplacement.
- Poussez la carte mini PCIe 4G par le haut et fixez-la avec les vis retirées à l'étape 1.
- Comme illustré ci-dessous, branchez le câble de l'antenne dans le connecteur sur la carte mini PCIe 4G. À partir du dessus de l'interface, branchez le connecteur de câble au côté gauche au connecteur 1 et le connecteur de câble au côté droit au connecteur 2.
- Faites glisser le couvercle du support de la carte SIM
dans le sens de la flèche pour l'ouvrir.NOTE: N'utilisez pas le support de la carte SIM à l'arrière de la carte mini PCIe 4G.
- Insérez la carte SIM dans la fente.
- Fermez et faites glisser le couvercle dans le sens de la
flèche pour verrouiller.
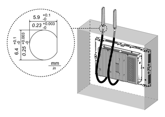
NOTE: Lors du retrait, de l'insertion ou du remplacement de la carte SIM, l'interface cellulaire 4G doit être réinitialisé à ses réglages d'usine par défaut. À partir de Paramètres 4G cellulaire, effectuez l'étape 1. - Fixez cette interface au produit. Fixez l'antenne
après avoir monté le produit au panneau.

Ne bloquez pas la zone de l'antenne avec votre main, votre corps ou d'autres objets. Cela peut provoquer des interférences dans les communications.
Vous pouvez changer le sens des antennes, haut, bas, gauche et droite.

Vous pouvez fixer l'antenne à l'extérieur du panneau à l'aide du câble en option suivant.
Câble d'antenne étendu 4G cellulaire (3 m) : PFXYP6CB4G3M
Lorsque le câble optionnel est utilisé, les dimensions de l'ouverture du panneau sont les suivantes.



ATTENTION





