4G 셀룰러
이 인터페이스 장치와 SIM 카드를 부착하여 이 제품을 4G 네트워크에 연결할 수 있습니다.
-
사용자 국가의 주파수와 일치하는 인터페이스 장치와 SIM 카드를 사용하십시오.
-
사용자 국가의 법률, 규정, 표준에 따라 이 제품을 사용하십시오.
-
이 제품/부대용품은 무선 주파수와 관련한 표준 또는 인증을 받지 않았습니다. 사용자 국가의 표준 및 인증에서 요구하는 경우 받으시기 바랍니다.
-
4G 셀룰러 인터페이스
-
안테나
-
4G 미니 PCIe 카드
사양
|
|
EU, 아시아 및 일본 모델 |
US 모델 |
|---|---|---|
|
제품 번호 |
PFXYP6MP4GE |
PFXYP6MP4GU |
|
SIM 카드 유형 |
마이크로 SIM 3FF, 12 x 15 mm |
|
4G
|
|
EU, 아시아 및 일본 모델 |
US 모델 |
|---|---|---|
|
소비 전력 |
2.9 W |
|
|
표준 |
4G LTE: 3GPP 릴리스 9, E-UTRA, FDD, MIMO |
|
|
대역 |
MPCI-L2104: Band 20(800 MHz), Band 5(850 MHz), Band 8(900 MHz), Band 3(1,800 MHz), Band 1(2,100 MHz), Band 7(2,600 MHz) |
MPCI-L200: Band 17(700 MHz), Band 5(850 MHz), Band 4(1,700 MHz), Band 2(1,900 MHz), Band 7(2,600 MHz) |
|
링크 속도*1 |
최대 150 MB/s DL, 50 MB/s UL |
|
*1 이 값은 사용자의 서비스 공급자, 이 제품과 기지국 사이의 거리 및 현재 트래픽에 따라 다릅니다.
3G
|
|
EU, 아시아 및 일본 모델 |
US 모델 |
|---|---|---|
|
소비 전력 |
2.6 W |
|
|
표준 |
3G UMTS/HSDPA/HSUPA: 3GPP 릴리스 8, DC-HSPA+, UTRA, FDD |
|
|
대역 |
MPCI-L210: Band 5(850 MHz), Band 8(900 MHz), Band 2(1,900 MHz), Band 1(2,100 MHz) |
MPCI-L200: Band 5(850 MHz), Band 8(900 MHz), Band 4(AWS, 즉 1,700 MHz), Band 2(1,900 MHz), Band 1(2,100 MHz) |
|
링크 속도*1 |
HSDPA cat.24, 최대 42 Mb/s DL, HSUPA cat.6, 최대 5.6 Mb/s UL |
HSDPA cat.14, 최대 21 Mb/s DL, HSUPA cat.6, 최대 5.6 Mb/s UL |
*1 이 값은 사용자의 서비스 공급자, 이 제품과 기지국 사이의 거리 및 현재 트래픽에 따라 다릅니다.
4G 미니 PCIe 카드 및 SIM 카드 부착하기
주의
|
|---|
|
통신 장애
모든 연결의 통신
포트에 과도한 스트레스를
가하지 마십시오.
이러한 지침을 따르지 않을 경우 부상 또는 장비 손상이 초래될 수 있습니다.
|
- 4G 셀룰러 인터페이스의 4G 미니 PCIe 카드 설치 영역에서 나사 2개를 분리합니다.
- 4G 미니 PCIe 카드를 슬롯에 연결합니다.
- 4G 미니 PCIe 카드를 위에서 밀고 1단계에서 분리한 나사로 고정합니다.
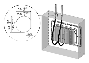
- 아래 그림과 같이 안테나 케이블 커넥터를 4G 미니 PCIe 카드의 커넥터에 단단히 꽂습니다. 인터페이스를 위에서 볼 때 왼쪽 케이블 커넥터를 커넥터 1에 꽂고 오른쪽 케이블 커넥터를 커넥터 2에 꽂습니다.
- SIM 카드 수납함 덮개를
화살표 방향으로 밀어
엽니다.주의: 4G 미니 PCIe 카드 뒷면의 SIM 카드 수납함을 사용하지 마십시오.
- SIM 카드를 슬롯에 삽입합니다.
- 덮개를 닫고 화살표
방향으로 밀어 잠급니다.
주의: SIM 카드를 분리, 삽입 또는 교체할 때 4G 셀룰러는 공장 기본값으로 재설정해야 합니다. 4G 셀룰러 설정에서 1단계를 수행합니다. - 이 인터페이스를 제품에 연결합니다. 제품을 패널에 장착한 후에만 안테나를 부착하십시오.


주의








