Cellulare 4G
Unendo questa interfaccia a una scheda SIM, questo prodotto può collegarsi a una rete 4G.
-
Utilizzare un'interfaccia e una scheda SIM adatte alla frequenza vigente nel proprio Paese.
-
Utilizzare questo prodotto in conformità alle leggi, i regolamenti e gli standard del proprio Paese.
-
Questo prodotto/accessorio non possiede gli standard o le certificazioni relative alle frequenze radio. Si prega di richiederlo, se necessario per gli standard e le certificazioni del proprio Paese.
-
Interfaccia del cellulare 4G
-
Antenna
-
Scheda 4G mini PCIe
Specifiche
|
|
Modello EU, Asia e Giappone |
Modello USA |
|---|---|---|
|
Numero prodotto |
PFXYP6MP4GE |
PFXYP6MP4GU |
|
Tipo scheda SIM |
micro SIM 3FF, 12 x 15 mm |
|
4G
|
|
Modello EU, Asia e Giappone |
Modello USA |
|---|---|---|
|
Assorbimento |
2,9 W |
|
|
Standard |
4G LTE: 3GPP Edizione 9, E-UTRA, FDD, MIMO |
|
|
Banda |
MPCI-L2104: Banda 20 (800 MHz), Banda 5 (850 MHz), Banda 8 (900 MHz), Banda 3 (1.800 MHz), Banda 1 (2.100 MHz), Banda 7 (2.600 MHz) |
MPCI-L200: Banda 17 (700 MHz), Banda 5 (850 MHz), Banda 4 (1.700 MHz), Banda 2 (1.900 MHz), Banda 7 (2.600 MHz) |
|
Velocità di collegamento*1 |
Fino a 150 Mb/s DL, 50 Mb/s UL |
|
*1 Questi valori dipendono dal fornitore del servizio, dalla distanza fra il prodotto e la stazione base e dal traffico in corso.
3G
|
|
Modello EU, Asia e Giappone |
Modello USA |
|---|---|---|
|
Assorbimento |
2,6 W |
|
|
Standard |
3G UMTS/HSDPA/HSUPA: 3GPP Edizione 8, DC-HSPA+, UTRA, FDD |
|
|
Banda |
MPCI-L210: Banda 5 (850 MHz), Banda 8 (900 MHz), Banda 2 (1.900 MHz), Banda 1 (2.100 MHz) |
MPCI-L200: Banda 5 (850 MHz), Banda 8 (900 MHz), Banda 4 (AWS, ad esempio 1.700 MHz), Banda 2 (1.900 MHz), Banda 1 (2.100 MHz) |
|
Velocità di collegamento*1 |
HSDPA cat.24, fino a 42 Mb/s DL, HSUPA cat.6, fino a 5,6 Mb/s UL |
HSDPA cat.14, fino a 21 Mb/s DL, HSUPA cat.6, fino a 5,6 Mb/s UL |
*1 Questi valori dipendono dal fornitore del servizio, dalla distanza fra il prodotto e la stazione base e dal traffico in corso.
Collegamento fra scheda 4G mini PCIe e scheda SIM
ATTENZIONE
|
|---|
|
PERDITA DI COMUNICAZIONE
Non caricare con sollecitazioni eccessive le porte di
comunicazione di tutte le connessioni.
Il mancato rispetto di queste istruzioni può provocare infortuni o danni alle apparecchiature.
|
- Rimuovere le due viti dall'area di installazione della scheda 4G mini PCIe nell'interfaccia cellulare 4G.
- Connettere la scheda 4G mini PCIe nel vano.
- Premere la scheda 4G PCIe da sopra e fissarla con le viti rimosse nel passaggio 1.
- Come mostrato di seguito, collegare saldamente il connettore del cavo dell'antenna al connettore della scheda 4G mini PCIe. Guardando da sopra l'interfaccia, inserire il connettore del cavo sul lato sinistro al connettore 1 e il connettore del cavo sul lato destro al connettore 2.
- Far scorrere la copertura della scheda SIM nella direzione
della freccia per aprirla.NOTA: Non utilizzare il supporto per la scheda SIM che si trova sul retro della scheda 4G mini PCIe.
- Inserire la scheda SIM nel vano.
- Chiudere e far scorrere la chiusura nella direzione della
freccia per bloccarla.
NOTA: Quando si rimuove, inserisce o sostituisce la scheda SIM, il cellulare 4G deve essere resettato alle impostazioni di fabbrica. Da Impostazioni del Cellulare 4G, eseguire il passaggio 1. - Collegare questa interfaccia al prodotto. Montare l'antenna
solo dopo aver montato il prodotto sul pannello.

Non coprire l'area dell'antenna con le mani, il corpo o altri oggetti. Si potrebbero causare interferenze nelle comunicazioni.
Si può cambiare la direzione delle antenne, su, giù, sinistra e destra.

Si può attaccare l'antenna all'esterno del pannello utilizzando il seguente cavo opzionale.
Prolunga cavo d'antenna cellulare 4G (3 m): PFXYP6CB4G3M
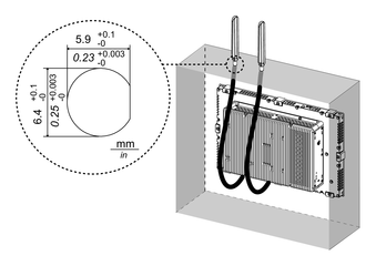
Quando si usa il cavo opzionale, le dimensioni dell'apertura del pannello sono le seguenti.



ATTENZIONE





