WiFi/Bluetooth with antennas
By attaching antennas, this interface can receive WiFi signals.
-
This product/accessory has not obtained standards or certifications related to radio frequency. Please obtain if required by the standards and certifications in your country. You can find the certification information on the Wifi/Bluetooth card on our website. Search with the Wifi/Bluetooth model number (PFXYP6MPWF).
https://www.pro-face.com/trans/en/manual/1002.html -
Use this product in accordance with the laws, regulations and standards of your country.
Specifications
| Product number | PFXYP6MPWF | |
| WiFi | Connector | Antenna connector (SMA plug) x 2 |
| Transmission speed | IEEE802.11a: max 54 Mbps IEEE802.11b: max 11 Mbps IEEE802.11g: max 54 Mbps IEEE802.11n: max 600 Mbps IEEE802.11ac: max 1733 Mbps |
|
| Network authentication | WPA, WPA2, 801.1X | |
| Data encryption | WEP (64 bit and 128 bit), TKIP, AES-CCMP (128 bit), AES-GCMP (128 bit and 256 bit) | |
| Bluetooth | Standard | Bluetooth 5.1 |
| Power class | Class 1 | |
| Power consumption (max.) | 5.1 W | |
WARNING
|
|---|
|
ELECTROMAGNETIC / RADIO INTERFERENCE
If you are uncertain of the policy that
applies to the use of the WiFi/Bluetooth module, ask the administrator
about its use before you turn it on.
Failure to follow these instructions can result in death, serious injury, or equipment
damage.
|
2.4 GHz Wireless Devices
The WiFi/Bluetooth module uses the 2.4 GHz frequency range, which is used by a wide range of wireless equipment. Example usage includes industrial, scientific, and medical equipment such as microwave ovens, on-site wireless stations (requiring licenses), low-power wireless stations (not requiring licenses) as well as amateur wireless stations (requiring licenses).
-
Before use, confirm that no on-site wireless stations and specified low-power wireless stations or amateur wireless stations operate in your vicinity.
-
In the event that the WiFi/Bluetooth module causes harmful interference to any other "on-site wireless stations", immediately change the channel frequency of the WiFi/Bluetooth module, or change its location, or halt operation of radio emissions and contact the administrator of the wireless network to resolve the issue.
Security on Your Wireless LAN
Because wireless LANs do not normally provide adequate data security, the following problems may occur.
-
Unlawful access of communication information.
-
There is a chance that information found in emails, and personal information such as user IDs, passwords, and credit card numbers, may be intentionally intercepted by a malicious third party.
-
-
Illegal Access
A malicious third party may be able to access personal or company data over the company's local area network without permission, to:
-
Obtain personal and confidential information (information leak)
-
Impersonate someone by communicating as that person and disseminating invalid information (spoofing)
-
Alter intercepted communications and re-transmitting tolerated content (falsification)
-
Cause critical damage to data and or systems due to a computer virus (damage).
-
This wireless LAN product includes security features that enable you to configure security-related settings that reduce the likelihood of the above-mentioned problems.
We recommend that you make yourself fully acquainted with the possible implications of what might happen if you use a wireless product without enabling security features, and that you configure security-related settings and use wireless products at your own responsibility.
Attaching the WiFi/Bluetooth Card and Antennas
CAUTION
|
|---|
|
LOSS OF COMMUNICATION
Do not put excessive stress on the communication ports
of all connections.
Failure to follow these instructions can result in injury or equipment damage.
|
- Remove the screw from the installation area of the WiFi/Bluetooth card on the interface unit.
- As shown below, insert the WiFi/Bluetooth card diagonally, then push from above.
- Secure the card with the screw removed in step 1.
- As shown below, plug the antenna cable connector securely to the connector on the card. Looking from above the interface, plug the cable connector on the left side to connector 1, and the cable connector on the right side to connector 2.
- Attach this interface to the product. Attach the antenna
only after mounting the product on the panel.

Do not block the antenna area with your hand, body or other objects. It may cause interference in communications.
You can change the direction of antennas, up, down, left and right.

You can attach the antenna to the outside of the panel using the following optional cable.
WiFi/Bluetooth expanded antenna cable (3 m): PFXYP6CBWF3M
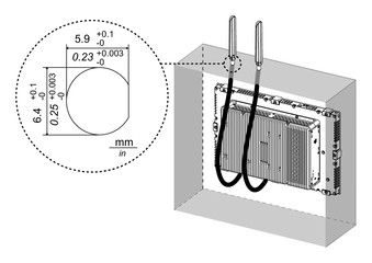
When the optional cable is used, the dimensions of the panel opening is as follows.



WARNING
CAUTION



