WiFi/Bluetooth mit Antennen
Durch Anbringen von Antennen kann diese Schnittstelle WiFi-Signale empfangen.
-
Dieses Produkt/Zubehör hat keine Normen oder Zertifizierungen in Bezug auf Hochfrequenz erhalten. Bitte sorgen Sie für entsprechende Normen bzw. Zertifizierungen, wenn dies in Ihrem Land erforderlich ist. Die Zertifizierungsinformationen zur Wifi/Bluetooth-Karte finden Sie auf unserer Website. Suchen Sie nach der Wifi/Bluetooth-Typennummer (PFXYP6MPWF).
https://www.pro-face.com/trans/en/manual/1002.html -
Verwenden Sie dieses Produkt gemäß den in Ihrem Land gültigen Gesetzen, Vorschriften und Standards.
Kenndaten
| Produktnummer | PFXYP6MPWF | |
| WiFi | Stecker | Antennenanschluss (SMA-Stecker) x 2 |
| Übertragungsgeschwindigkeit | IEEE802.11a: max. 54 Mbps IEEE802.11b: max. 11 Mbps IEEE802.11g: max. 54 Mbps IEEE802.11n: max. 600 Mbps IEEE802.11ac: max 1733 Mbps |
|
| Netzwerkauthentifizierung | WPA, WPA2, 801.1X | |
| Datenverschlüsselung | WEP (64 Bit und 128 Bit), TKIP, AES-CCMP (128 Bit), AES-GCMP (128 Bit und 256 Bit) | |
| Bluetooth | Normen | Bluetooth 5.1 |
| Leistungsklasse | Class 1 | |
| Stromaufnahme (max.) | 5,1 W | |
WARNUNG
|
|---|
|
ELEKTROMAGNETISCHE / RADIOFREQUENZSTÖRUNGEN
Wenn Sie sich nicht sicher sind, inwieweit
die Verwendung des WiFi/Bluetooth-Moduls in Ihrer Umgebung eingeschränkt
ist, wenden Sie sich bitte an den jeweiligen Administrator vor Einschalten
des Geräts.
Die Nichtbeachtung dieser Anweisungen kann Tod, schwere Verletzungen oder Sachschäden
zur Folge haben.
|
2,4 GHz Drahtlosgeräte
Das WiFi/Bluetooth-Modell verwendet einen Frequenzbereich von 2,4 GHz, der von einer Vielzahl von Drahtlosgeräten verwendet wird. Dieser Frequenzbereich wird z.B. in industriellen, wissenschaftlichen und medizinischen Geräten verwendet, wie etwa Mikrowellenöfen, hauseigenen Drahtlostationen (lizenzpflichtig), Drahtlosstationen mit geringer Sendeleistung (nicht lizenzpflichtig) sowie Amateur-Drahtlosstationen (lizenzpflichtig).
-
Vergewissern Sie sich vor der Verwendung davon, dass in Ihrer Umgebung keine hauseigenen Dahtlosstationen, bestimmte Drahtlosstationen mit geringer Sendeleistung oder Amateur-Drahtlosstation betrieben werden.
-
Wenn durch das WiFi/Bluetooth-Modul schädliche Interferenzen mit anderen "hauseigenen Drahtlosstationen" entstehen, ändern Sie umgehend die Kanalfrequenz des WiFi/Bluetooth-Moduls, bringen Sie es an einen anderen Ort, oder beenden Sie den Betrieb von Funkemissionen, und wenden Sie sich an den Administrator des Drahtlosnetzes, um das Problem zu beheben.
Sicherheit auf Ihrem Wireless LAN
Da Wireless-LANs normalerweise nicht genügend Datensicherheit bieten, kann es zu folgenden Problemen kommen:
-
Rechtswidriger Zugriff auf Kommunikationsinformationen.
-
Es besteht die Möglichkeit, dass in E-Mails enthaltene Informationen sowie persönliche Angaben wie IDs, Passwörter und Kreditkartennummern absichtlich durch bösartige Dritte erlangt werden.
-
-
Unrechtmäßiger Zugriff
Böswillige Dritte sind möglicherweise in der Lage, unberechtigterweise über das Firmen-LAN auf persönliche oder unternehmenseigene Daten zuzugreifen, mit der Absicht,
-
persönliche und vertrauliche Informationen zu erhalten (Informationsleck)
-
sich für eine Person auszugeben, indem Sie in ihrem Namen kommunizieren und ungültige Informationen verbreiten (Fälschung von E-Mail-Adressen - auch als Spoofing bezeichnet)
-
abgefangene Kommunikationen zu ändern und Inhalte erneut zu versenden (Inhaltsfälschung)
-
mit Computerviren schwerwiegende Schäden an Daten oder Systemen zu verursachen (Schaden).
-
Dieses Wireless-LAN-Produkt enthält Sicherheitsfujnktionen, die es Ihnen ermöglichen, Sicherheits-bezogene Einstellungen, die Wahrscheinlichkeit oben erwähnter Probleme mindern, zu konfigurieren.
Wir empfehlen, dass Sie sich mit den Eventualitäten und Folgen auseinandersetzen, die bei Verwendung eines Drahtlosprodukts ohne Aktivierung von Sicherheitsfunktionen eintreten können, und dass Sie sicherheitsrelevante Einstellungen vornehmen und Drahtlosprodukte eigenverantwortlich verwenden.
Anbringen der WiFi/Bluetooth-Karte und Antennen
VORSICHT
|
|---|
|
KOMMUNIKATIONSVERLUST
Auf die Kommunikationsanschlüsse aller Verbindungen
darf keine übermäßige Belastung ausgeübt werden.
Die Nichtbeachtung dieser Anweisungen kann Verletzungen oder Sachschäden zur Folge
haben.
|
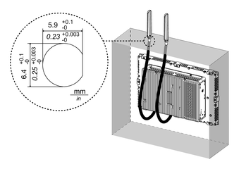
- Entfernen Sie die Schraube aus dem Installationsbereich der WiFi/Bluetooth-Karte an der Schnittstelleneinheit.
- Setzen Sie die WiFi/Bluetooth-Karte gemäß Abbildung unten diagonal ein und drücken Sie dann von oben.
- Befestigen Sie die Karte mit der in Schritt 1 entfernten Schraube.
- Stecken Sie den Stecker des Antennenkabels gemäß Abbildung unten in den Anschluss der Karte. Stecken Sie den Kabelstecker auf der linken Seite (bei Sicht von oben auf die Schnittstelle) in Anschluss 1 und den Kabelstecker auf der rechten Seite in Anschluss 2 ein.
- Bringen Sie diese Schnittstelle am Produkt an. Bringen
Sie die Antenne erst an, nachdem Sie das Produkt auf der Montageplatte
montiert haben.

Der Antennenbereich darf nicht mit Ihrer Hand, Ihrem Körper oder anderen Objekten blockiert werden. Es können Störungen in der Kommunikation entstehen.
Die Ausrichtung der Antennen lässt sich nach oben, unten, links und rechts ändern.

Sie können die Antenne mit folgendem optionalen Kabel an der Außenseite des Panels befestigen.
Verlängertes Antennenkabel, für WiFi/Bluetooth-Antenne (3 m): PFXYP6CBWF3M
Bei Verwendung des optionalen Kabels sind die Abmessungen der Plattenöffnung wie folgt.



WARNUNG
VORSICHT



