带天线的 WiFi/蓝牙
通过安装天线,该接口可以接收WiFi信号。
-
本产品/附件未取得射频相关标准或认证。如果您所在国家需要这些标准和认证,请取得。您可以在我们的网站上找到Wifi/蓝牙卡上的认证信息。用Wifi/蓝牙型号(PFXYP6MPWF)进行搜索
https://www.pro-face.com/trans/cn/manual/1002.html -
根据所在国的法律、法规和标准使用本产品。
规格
| 产品编号 | PFXYP6MPWF | |
| WiFi | 接头 | 天线接头(SMA插头) x 2 |
| 传输速度 | IEEE802.11a: 最大 54 Mbps IEEE802.11b: 最大 11 Mbps IEEE802.11g: 最大 54 Mbps IEEE802.11n: 最大 600 Mbps IEEE802.11ac: 最大 1733 Mbps |
|
| 网络验证 | WPA, WPA2, 801.1X | |
| 数据加密 | WEP (64 bit 和 128 bit)、TKIP、AES-CCMP (128 bit)、AES-GCMP (128 bit 和 256 bit) | |
| 蓝牙 | 标准 | 蓝牙 5.1 |
| 电源等级 | Class 1 | |
| 功耗(最大) | 5.1 W | |
警告
|
|---|
|
电磁/无线电干扰
如果您不确定有关使用WiFi/蓝牙的规定,请在打开前向管理员咨询。
未按说明操作可能导致人身伤亡或设备损坏等严重后果。
|
2.4 GHz 无线设备
WiFi/蓝牙模块使用 2.4 GHz 频率范围,该范围广泛被无线设备使用。使用示例包括工业、科学和医疗设备,如:微波炉、现场无线基站(需要许可) 、低功率无线基站(不需要许可)以及业余无线基站(需要许可)。
-
使用前,确认在您的附近没有正在运行的现场无线基站和指定低功率无线基站或业余无线基站。
-
如果WiFi/蓝牙模块对其它任何“现场无线基站”造成有害干扰,请立即更换WiFi/蓝牙模块的频率,或改变其位置,或停止无线电发射操作并联系无线网络管理员来解决这个问题。
无线 LAN 的安全
由于无线 LAN 通常没有提供足够的数据安全性,因此可能会发生以下问题。
-
非法访问通讯信息。
-
电子邮件中的信息、用户 ID、密码和信用卡号码等个人信息可能会被恶意第三方窃取。
-
-
非法访问
恶意第三方可能能够未经授权即通过公司的局域网访问个人或公司数据,以:
-
获得个人和机密信息(信息泄露)
-
冒充他人进行通讯和传播无效信息(欺骗)
-
修改窃取的通讯内容后重新传输(篡改)
-
计算机病毒对数据或/和系统造成严重损害(损害)。
-
此无线 LAN 产品包括安全功能,使您能够配置可减少上述问题可能性的安全相关设置。
如果您使用的无线产品没有启用安全功能,我们建议您自身在充分认识到可能会发生的问题,并建议您配置安全相关设置和对使用无线产品自担责任。
安装WiFi/蓝牙卡和天线
小心
|
|---|
|
通信失败
请勿给所有连接的通讯端口造成太大压力。
不遵循上述说明可能导致人身伤害或设备损坏。
|
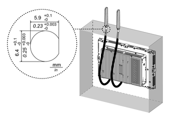
- 卸下接口单元上WiFi/蓝牙卡安装区域的螺钉。
- 如下图所示,沿对角线插入WiFi/蓝牙卡,然后从上方推动。
- 用步骤1中卸下的螺钉固定卡。
- 如下图所示,将天线电缆连接器牢固插入卡上的连接器。从接口上方看,将左侧电缆连接器插入连接器1,将右侧电缆连接器插入连接器2。
- 将此接口连接到产品。仅在将产品安装到面板上后才连接天线。


警告
小心






