DIN 导轨和面板上的安装步骤
本节介绍如何在 DIN 导轨上安装背部模块和从面板上安装显示模块。
危险
|
|---|
|
电击、爆炸或电弧危险
未按说明操作将导致人身伤亡等严重后果。
|
| 注意 |
|---|
|
设备损坏
务必使用安装垫圈。
不遵循上述说明可能导致设备损坏。
|
- 请将分离电缆连接到背后模块安装适配器。固定电缆接头两侧的螺钉,以将电缆固定到适配器上。
- 将背后模块安装适配器的顶部凹槽放置在 DIN 导轨的顶部边缘。
- 向下推适配器,直到安装适配器的底部凹槽卡扣到 DIN 导轨下面。
- 径直将背后模块插入并推入适配器,直至其锁定到位。
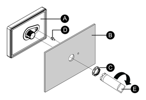
- 将显示模块放置在干净平整的表面上,并使屏幕朝下。
- 请检查防水橡皮垫圈已稳妥地插入显示面板框四周的挡板凹槽中。注: 防水橡皮垫圈除具有防水功能外还可吸收振动,务必使用防水橡皮垫圈。要了解如何更换防水橡皮垫圈,请参阅更换防水橡皮垫圈。
- 根据该产品面板开孔尺寸,在面板上开出一个安装孔。
- 将显示模块和防转三通从正面插入面板孔中。用套筒扳手拧紧螺母。螺母需要 1.2 至 2.0 N•m (10.62 至 17.70 lb-in) 的力矩。
- 径直将分离电缆插入并推入显示模块,直至其锁定到位。
危险





