|
 |
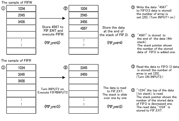
Data are stored moving over in the designated stack every First-in/First-out WRITE. The first stored data are thrown out to the specified register in order by First-in/First-out READ and the stack is closed up.
|
 |
|
 |
As use of memorizing data in the order of occurrence, this is used for the following cases;
1.Controlling numbers of products stocked in a stockyard of a manufacturing line
2. Memorizing errors/troubles of devices in the order of occurrence and finding a cause when devices stop
3. as a temporary buffer when speed of internal processes does not catch up with speed of data input
|
Download a sample program file and detailed description.
|
 |