Procédure de retrait du rail DIN et du panneau
Cette section décrit comment retirer le module arrière d'un rail DIN et le Display Module du panneau.
DANGER
|
|---|
|
RISQUE DE CHOC ELECTRIQUE, D'EXPLOSION
OU D'ARC ELECTRIQUE
Le non-respect de ces instructions provoquera la mort ou des blessures graves.
|
| AVIS |
|---|
|
RISQUE DE DETERIORATION DU MATERIEL
Assurez-vous de
retirer le câble de séparation du Display Module sans le
torsader.
Le non-respect de ces instructions peut provoquer des dommages matériels.
|
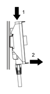
- Poussez et maintenez enfoncé le bouton en haut du module arrière et retirez le module arrière.
- Poussez sur l'adaptateur de montage du module arrière et décrochez la partie inférieure de l'adaptateur du rail DIN.
- Poussez et maintenez enfoncé le bouton en haut du câble de séparation et retirez le câble de séparation.
- Retirez l'écrou et le Display Module du panneau.
DANGER



