连接 DC 电源线
危险
|
|---|
|
电击、爆炸或电弧危险
未按说明操作可能导致人身伤亡等严重后果。
|
注:
-
SG(信号接地)和 FG(机壳接地)端子在产品内部进行连接。
-
当连接好功能接地 (FG) 端子后,确保将电线接地。如果不接地,本产品将引起过大的电磁干扰 (EMI)。
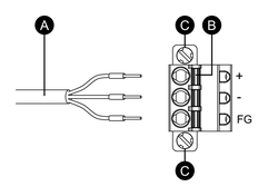
直流电源连接器:弹簧夹型端子块

| 连接 | 导线 |
|---|---|
| + | 24 Vdc |
| - | 0 Vdc |
| FG | 连接到面板底座的接地端子。 |
如何连接 DC 电源线
- 请确认电源线没有连接到电源上。
- 将针脚端子正确压接到每条电源线的末端。
- 请用一个小一字螺丝刀压住打开按键,以打开想要的引脚端口。
- 将每线电源线插入到对应的孔内。请松开打开按键将导线固定到位。
- 插入全部三条电源线后,将 DC 电源接头插回本产品。
危险
