パネルカット寸法
パネルカット寸法に従って、取り付け穴を開けます。

A | B | C |
---|---|---|
22.5 mm (+0/-0.3 mm) (0.88 in [+0/-0.01 in]) |
4.0 mm (+0/-0.2 mm) (0.15 in [+0/-0.007 in]) |
30.0 mm (+0/-0.2 mm) (1.18 in [+0/-0.007 in]) |
パネル厚の推奨範囲
パネル材 | パネル厚範囲 (D) |
---|---|
鋼鉄 | 1.5...6.0 mm (0.06...0.23 in) |
ガラス繊維強化プラスチック (GF30 以上) | 3.0...6.0 mm (0.12...0.23 in) |
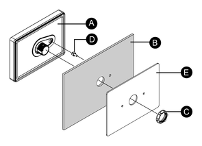
スペーサーについて
パネル厚が本製品の使用条件に満たない場合は、別売のスペーサーが使用できます。
型式 | PFXZCM6MP2 | PFXZCM6MP4 |
---|---|---|
スペーサー寸法 (W x H x D) | 145 x 105 x 2 mm (5.71 x 4.13 x 0.08 in) | 204 x 140 x 2 mm (8.03 x 5.51 x 0.08 in) |
スペーサー材 | ステンレス | ステンレス |
スペーサーが使用できるパネル厚とパネルの材質は次のとおりです。
パネル材 | STM-6200WA | STM-6400WA |
---|---|---|
鋼鉄 | 1 ...1.5 mm (0.04 ...0.06 in) | 1 ...1.5 mm (0.04 ...0.06 in) |
ガラス繊維強化プラスチック (GF30 以上) |
1 ...3 mm (0.04 ...0.12 in) | 2 ...3 mm (0.08 ...0.12 in) |
その他のプラスチック | 1 ...3 mm (0.04 ...0.12 in) | 不可 |